BOYAR-SCHULTZ SMT
Division of Lester Detterbeck Enterprises Ltd.
Copyright © 2016 BOYAR-SCHULTZ SMT, a division of Lester Detterbeck Enterprises, LTD.  All Rights Reserved.

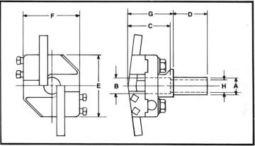
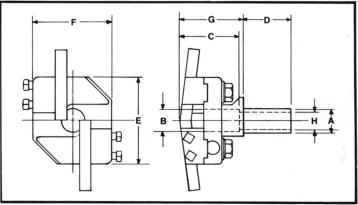
Box Tools - Model BTT

Balanced turning tools are used in the turrets of screw machines and turret lathes, and are the best tools for rough turning. Balanced turning tools will remove a greater amount of material than any other turning tool available because of the rugged construction and dual cutting tools. The two high-speed steel blades cut freely, are inexpensive to replace, and adjustment permitting proper orientation of the tool bit to the workpiece can be made in a matter of minutes. Although designed primarily for rough turning, these tools will produce a good finish cut where a high degree of accuracy and fine finish are not necessary. Balanced turning tools are often used for finish-turning thread diameters, and are excellent on all types of material including brass. Cutter adjustment can be easily made in a matter of minutes. The two blades are adjusted to the required diameter. Both blades simultaneously remove the same amount of material, creating a balanced cut. This will produce a good part finish at a reasonable feed rate. Or, approximately 80 percent of the material can be removed with one blade, and the remaining material with the other blade for finish turning. For rough turning, the blades may be set so each blade removes only one-half of the required cut. This is especially productive when removing large amounts of material.
Model OOOBTT OOBTT OBTT 2BTT Ordering Number 112474 112475 112476 112477                Dimensions Turning Capacity 5/64 to 3/8 3/32 to 3/8 5/32 to 5/8 3/16 to 7/8 A 5/8 5/8 3/4 1 B 7/16 7/16 3/4 1 C 1-1/4 1-5/16 1-11/16 2-7/16 D 1-3/8 1-3/8 1-1/2 2 E 1-3/4 2-1/8 2-3/4 2-1/8 F 1-5/8 1-13/16 2-1/2 2-7/8 G 1-3/8 1-3/8 2 2-13/16 H 3/8 3/8 3/8 9-16 Tool Bit Size (Sq.) 1/4 1/4 3/8 1/2       Replacement Parts Body 112478 112479 112480 112481 Tool Bit Holder 5702 A 5002 A 5102-A 5202 Adjusting Screw 5734 7406 5134 5234 Tool Bit Lock Screw 5737 5037 5137 5237 Holder Lock Screw 5035 5035 5135 5235 Tool Bit 5045 5045 5145 5245 Lock Screw Washer 5743 5043 5143 5243 Bushing Lock Screw 1210 1210 6344 5244
BOYAR-SCHULTZ SMT
Division of Lester Detterbeck Enterprises Ltd.
Copyright © 2016 BOYAR-SCHULTZ SMT, a division of Lester Detterbeck Enterprises, LTD Website by North Country Website Design_

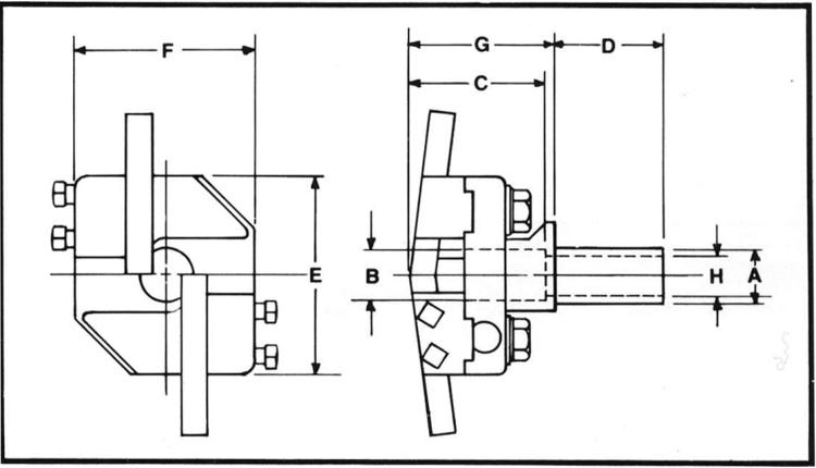
Box Tools - Model BTT

Balanced turning tools are used in the turrets of screw machines and turret lathes, and are the best tools for rough turning. Balanced turning tools will remove a greater amount of material than any other turning tool available because of the rugged construction and dual cutting tools. The two high-speed steel blades cut freely, are inexpensive to replace, and adjustment permitting proper orientation of the tool bit to the workpiece can be made in a matter of minutes. Although designed primarily for rough turning, these tools will produce a good finish cut where a high degree of accuracy and fine finish are not necessary. Balanced turning tools are often used for finish- turning thread diameters, and are excellent on all types of material including brass. Cutter adjustment can be easily made in a matter of minutes. The two blades are adjusted to the required diameter. Both blades simultaneously remove the same amount of material, creating a balanced cut. This will produce a good part finish at a reasonable feed rate. Or, approximately 80 percent of the material can be removed with one blade, and the remaining material with the other blade for finish turning. For rough turning, the blades may be set so each blade removes only one- half of the required cut. This is especially productive when removing large amounts of material.
Model OOOBTT OOBTT OBTT 2BTT Ordering Number 112474 112475 112476 112477                Dimensions Turning Capacity 5/64 to 3/8 3/32 to 3/8 5/32 to 5/8 3/16 to 7/8 A 5/8 5/8 3/4 1 B 7/16 7/16 3/4 1 C 1-1/4 1-5/16 1-11/16 2-7/16 D 1-3/8 1-3/8 1-1/2 2 E 1-3/4 2-1/8 2-3/4 2-1/8 F 1-5/8 1-13/16 2-1/2 2-7/8 G 1-3/8 1-3/8 2 2-13/16 H 3/8 3/8 3/8 9-16 Tool Bit Size (Sq.) 1/4 1/4 3/8 1/2       Replacement Parts Body 112478 112479 112480 112481 Tool Bit Holder 5702 A 5002 A 5102-A 5202 Adjusting Screw 5734 7406 5134 5234 Tool Bit Lock Screw 5737 5037 5137 5237 Holder Lock Screw 5035 5035 5135 5235 Tool Bit 5045 5045 5145 5245 Lock Screw Washer 5743 5043 5143 5243 Bushing Lock Screw 1210 1210 6344 5244