BOYAR-SCHULTZ SMT
Division of Lester Detterbeck Enterprises Ltd.
Copyright © 2016 BOYAR-SCHULTZ SMT, a division of Lester Detterbeck Enterprises, LTD.  All Rights Reserved.

Drill & Reamer Holders - Model D     Floating

                                     Model DC   Floating Collet Type

                                     Model DCR Retrofit Kit - Includes Head & Collet Nut Assembly

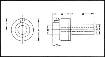
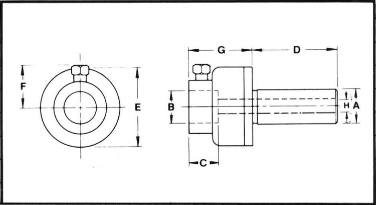
These holders are designed with full floating feature to correct the misalignment that so often occurs between tool and workpiece. The holder floats freely on ball bearing operating between hardened, ground, highly polished rolls which provide automatic radial adjustment to insure alignment of the cutting tool with a previously drilled hold. Chatter, bell-mouthed and egg-shaped holes are eliminated. Adjustment is quick and easy with a simple spanner nut. Boyar-Schultz Model D Floating Reamer Holder is also adaptable for floating drills on special drilling operations. Bushings can be utilized to accept various size tool shanks. The full-floating collet type holder provides Boyar-Schultz reliability with the added feature of replaceable double angle-collets. This new design allows for retrofitting of the older Model D floating holder. The nosepiece assembly will fit current holder, and they can be converted in the customer's plant in less than three minutes.
Model D OOOD OOD OD 2D 3D 4D¥ Ordering Number 7675A 7700A 7725A 7750A 8000A 8025A      Dimensions A 5/8 5/8 3/4 1 1-1/4 1-1/2 B 1/4 1/2 5/8 1 1 1-1/4 C 9/16 5/8 13/16 15/16 1-1/2 1-1/2 D 1-3/8 1-3/8 2-1/8 2-1/2 4 4 E 1-3/8 1-5/8 2 2-5/16 3-3/8 3-3/8 F 5/8 13/16 1-1/16 1-5/16 1-3/4 1-3/4 G 1-7/16 1-9/16 1-13/16 2 2-7/8 2-7/8 H 0.31 0.34 0.41 0.53 0.78 0.78 Replacement Parts Tool Head 7676A 7701A 7726A 7751A 8001A 8026A Body 7682 7707 7732 7757 8007 8032 Top Lock Screw 7677 7702A 7727 7752 8002 8027 Cap 7678A 7703A 7728A 7753A 8003A 8003A Spanner Nut 7681 7706 7731 7756 8006 8006 Coupling 7679A 7704A 7729A 7754A 8004A 8004A Thrust Washer (2 Reqd.) 7683 7708 7733 7758 8010 8010 Ball Assembly 7680 7705 7730 7755 8009 8009 Model DC OOODC OODC ODC 2DC 3DC 4DCz 5DCz 6DCz Ordering Number 113180 113181 113182 113183 113184 113185 113186 113187 Dimensions A 5/8 5/8 3/4 1 1-1/4 1-1/2 1-3/4 2 B 1/32-1/4 3/64-25/64 3/64-9/16 1/32-3/4 1/32-3/4 1/32-3/4 3/32-1 3/32-1 C 3-3/8 3-5/8 4-3/4 5-7/16 7-1/8 7-1/4 8-5/8 8-5/8 D 1-3/8 1-3/8 2-1/8 2-1/2 4 4 5 5 E 1-3/8 1-5/8 2 2-15/16 3-3/8 3-3/8 3-7/8 3-7/8 F 11/16 1 1-1/4 1-1/2 1-1/2 1-1/2 2-1/4 2-1/4 G 0.79 1.16 1.42 1.72 1.72 1.72 2-1/2 2-1/2 H 0.31 0.34 0.41 0.53 0.78 0.78 0.91 0.91 Collet Size 300 200 100 180 180 180 400 400 Model DCR OOODCR OODR ODCR 2DCR 3DCR 4DCR** 5DCR** 6DCR** Ordering Number (Kit) 113210 113211 113212 113213 113214 113214 113215 113215 Replacement Parts Collet Nut Ass'y. 113195 113196 113197 113199 113199 113199 113198 113198 Collet Tool Head 113190 113191 113192 113193 113194 113194 113189 113189 *Collets are not supplied with tool holder. They can be ordered separately by collet size and I.D. size. **4DC, 5DC, &6DC are special and have 1.0" diameter maximum capacity. ¥Sizes 4, 5, & 6 D & DC are non-stock tool - made to order.
BOYAR-SCHULTZ SMT
Division of Lester Detterbeck Enterprises Ltd.
Copyright © 2016 BOYAR-SCHULTZ SMT, a division of Lester Detterbeck Enterprises, LTD Website by North Country Website Design_

Drill & Reamer Holders

Model D     Floating

Model DC   Floating Collet Type

Model DCR Retrofit Kit - Head & Collet Nut Assembly

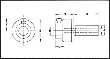
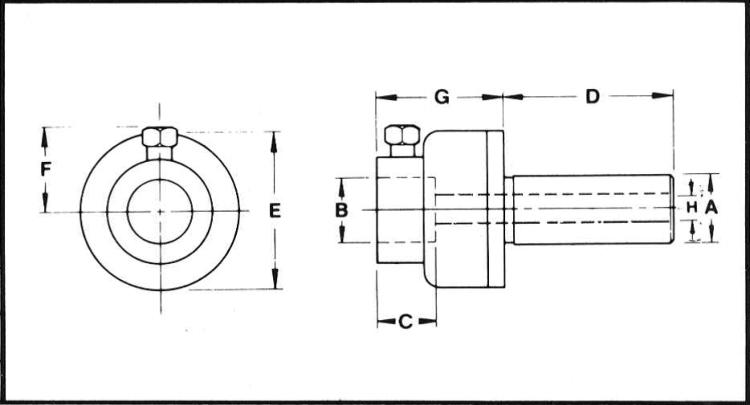
These holders are designed with full floating feature to correct the misalignment that so often occurs between tool and workpiece. The holder floats freely on ball bearing operating between hardened, ground, highly polished rolls which provide automatic radial adjustment to insure alignment of the cutting tool with a previously drilled hold. hatter, bell-mouthed and egg-shaped holes are eliminated. Adjustment is quick and easy with a simple spanner nut. Boyar- Schultz Model D Floating Reamer Holder is also adaptable for floating drills on special drilling operations. Bushings can be utilized to accept various size tool shanks. The full-floating collet type holder provides Boyar-Schultz reliability with the added feature of replaceable double angle- collets. This new design allows for retrofitting of the older Model D floating holder. The nosepiece assembly will fit current holder, and they can be converted in the customer's plant in less than three minutes.
Model D OOOD OOD OD 2D 3D 4D¥ Ordering Number 7675A 7700A 7725A 7750A 8000A 8025A      Dimensions A 5/8 5/8 3/4 1 1-1/4 1-1/2 B 1/4 1/2 5/8 1 1 1-1/4 C 9/16 5/8 13/16 15/16 1-1/2 1-1/2 D 1-3/8 1-3/8 2-1/8 2-1/2 4 4 E 1-3/8 1-5/8 2 2-5/16 3-3/8 3-3/8 F 5/8 13/16 1-1/16 1-5/16 1-3/4 1-3/4 G 1-7/16 1-9/16 1-13/16 2 2-7/8 2-7/8 H 0.31 0.34 0.41 0.53 0.78 0.78 Replacement Parts Tool Head 7676A 7701A 7726A 7751A 8001A 8026A Body 7682 7707 7732 7757 8007 8032 Top Lock Screw 7677 7702A 7727 7752 8002 8027 Cap 7678A 7703A 7728A 7753A 8003A 8003A Spanner Nut 7681 7706 7731 7756 8006 8006 Coupling 7679A 7704A 7729A 7754A 8004A 8004A Thrust Washer (2 Reqd.) 7683 7708 7733 7758 8010 8010 Ball Assembly 7680 7705 7730 7755 8009 8009 Model DC OOODC OODC ODC 2DC 3DC 4DCz 5DCz 6DCz Ordering Number 113180 113181 113182 113183 113184 113185 113186 113187 Dimensions A 5/8 5/8 3/4 1 1-1/4 1-1/2 1-3/4 2 B 1/32-1/4 3/64-25/64 3/64-9/16 1/32-3/4 1/32-3/4 1/32-3/4 3/32-1 3/32-1 C 3-3/8 3-5/8 4-3/4 5-7/16 7-1/8 7-1/4 8-5/8 8-5/8 D 1-3/8 1-3/8 2-1/8 2-1/2 4 4 5 5 E 1-3/8 1-5/8 2 2-15/16 3-3/8 3-3/8 3-7/8 3-7/8 F 11/16 1 1-1/4 1-1/2 1-1/2 1-1/2 2-1/4 2-1/4 G 0.79 1.16 1.42 1.72 1.72 1.72 2-1/2 2-1/2 H 0.31 0.34 0.41 0.53 0.78 0.78 0.91 0.91 Collet Size 300 200 100 180 180 180 400 400 Model DCR OOODCR OODR ODCR 2DCR 3DCR 4DCR** 5DCR** 6DCR** Ordering Number (Kit) 113210 113211 113212 113213 113214 113214 113215 113215 Replacement Parts Collet Nut Ass'y. 113195 113196 113197 113199 113199 113199 113198 113198 Collet Tool Head 113190 113191 113192 113193 113194 113194 113189 113189 *Collets are not supplied with tool holder. They can be ordered separately by collet size and I.D. size. **4DC, 5DC, &6DC are special and have 1.0" diameter maximum capacity. ¥Sizes 4, 5, & 6 D & DC are non-stock tool - made to order.