BOYAR-SCHULTZ SMT
Division of Lester Detterbeck Enterprises Ltd.
Copyright © 2016 BOYAR-SCHULTZ SMT, a division of Lester Detterbeck Enterprises, LTD.  All Rights Reserved.

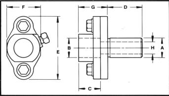
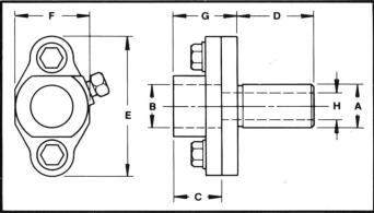
Drill & Reamer Holders - Model DRH

These holders are designed with full floating feature to correct the misalignment that so often occurs between tool and workpiece. The holder floats freely on ball bearing operating between hardened, ground, highly polished rolls which provide automatic radial adjustment to insure alignment of the cutting tool with a previously drilled hold. Chatter, bell-mouthed and egg-shaped holes are eliminated. Adjustment is quick and easy with a simple spanner nut. Boyar-Schultz Model D Floating Reamer Holder is also adaptable for floating drills on special drilling operations. Bushings can be utilized to accept various size tool shanks. The full-floating collet type holder provides Boyar-Schultz reliability with the added feature of replaceable double angle- collets. This new design allows for retrofitting of the older Model D floating holder. The nosepiece assembly will fit current holder, and they can be converted in the customer's plant in less than three minutes.
Model OODRH/S OODRH/L 0DRH 2DRH/S 2DRH/L Ordering Number 7770 7776 7780 7790 7796 Dimensions A 5/8 5/8 3/4 1 1 B 1/2 1/2 5/8 1 1 C 5/8 5/8 13/16 1-1/8 1-1/8 D 1-1/8 1-7/16 2 1-3/4 2-1/2 E 1-15/16 1-15/16 2-5/8 3-1/4 3-1/4 F 1 1 1-1/4 1-3/4 1-3/4 G 7/8 7/8 1-1/8 1-1/2 1-1/2 H 3/8 3/8 7/16 5/8 5/8 Replacement Parts Tool Head 7772A 7772a 7782 7792 7792 Body 7771A 7777A 7781 7791 7797 Tool Lock Screw 7702A 7702A 7727 7793 7793 Lock Screw (2 Reqd.) 7774 7774 7784 7794 7794 Lock Screw Washer (2 Reqd.) 7785 7795 7795 Plug 7779 7779 7789 7799 7799
BOYAR-SCHULTZ SMT
Division of Lester Detterbeck Enterprises Ltd.
Copyright © 2016 BOYAR-SCHULTZ SMT, a division of Lester Detterbeck Enterprises, LTD Website by North Country Website Design_

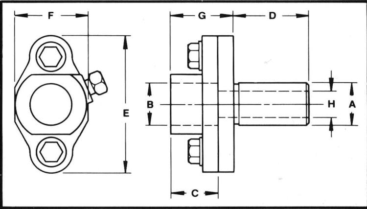
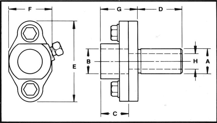
Drill & Reamer Holders - Model DRH

These holders are designed with full floating feature to correct the misalignment that so often occurs between tool and workpiece. The holder floats freely on ball bearing operating between hardened, ground, highly polished rolls which provide automatic radial adjustment to insure alignment of the cutting tool with a previously drilled hold. Chatter, bell-mouthed and egg-shaped holes are eliminated. Adjustment is quick and easy with a simple spanner nut. Boyar-Schultz Model D Floating Reamer Holder is also adaptable for floating drills on special drilling operations. Bushings can be utilized to accept various size tool shanks. The full-floating collet type holder provides Boyar-Schultz reliability with the added feature of replaceable double angle- collets. This new design allows for retrofitting of the older Model D floating holder. The nosepiece assembly will fit current holder, and they can be converted in the customer's plant in less than three minutes.
Model OODRH/S OODRH/L 0DRH 2DRH/S 2DRH/L Ordering Number 7770 7776 7780 7790 7796 Dimensions A 5/8 5/8 3/4 1 1 B 1/2 1/2 5/8 1 1 C 5/8 5/8 13/16 1-1/8 1-1/8 D 1-1/8 1-7/16 2 1-3/4 2-1/2 E 1-15/16 1-15/16 2-5/8 3-1/4 3-1/4 F 1 1 1-1/4 1-3/4 1-3/4 G 7/8 7/8 1-1/8 1-1/2 1-1/2 H 3/8 3/8 7/16 5/8 5/8 Replacement Parts Tool Head 7772A 7772a 7782 7792 7792 Body 7771A 7777A 7781 7791 7797 Tool Lock Screw 7702A 7702A 7727 7793 7793 Lock Screw (2 Reqd.) 7774 7774 7784 7794 7794 Lock Screw Washer (2 Reqd.) 7785 7795 7795 Plug 7779 7779 7789 7799 7799