BOYAR-SCHULTZ SMT
Division of Lester Detterbeck Enterprises Ltd.
Copyright © 2016 BOYAR-SCHULTZ SMT, a division of Lester Detterbeck Enterprises, LTD.  All Rights Reserved.

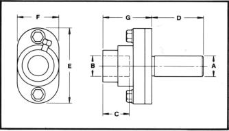
Tap Holders - Model AR

Adjustable releasing tap holders are used in screw machines, turret lathes, CNC lathes, and reversing spindle automatic screw machines. The tap is mounted in the tool holder directly or in a bushing; the holder assembly is adjustable to accurately align the tap with the workpiece. After it is started in the workpiece, the tap leads itself to a preset depth and draws the tool holder out of drive engagement with the tool head assembly, which permits the holder to rotate freely with the workpiece. Spindle reversal re-engages the tool holder, withdrawing the tap from the hole, and returns the tool holder to its original position. The tool is easily changed from right to left-handed operation with a simple adjustment.
Model OOAR OAR 2AR 3AR Ordering Number 6000 6025 6050 6075 Dimensions A 5/8 3/4 1 1-1/4 B 1/2 5/8 1 1 C 3/4 15/16 1-5/16 1-3/16 D 1-1/8 2 2-1/2 3-1/4 E 2 2-7/16 3-7/16 4 F 1-1/8 1-3/8 2 2-1/4 G 1-3/8 1-11/16 2-3/8 2-5/8 Pull Out 3/32 1/8 1/8 1/8 Replacement Parts Tool Head 6001 6026 6051A 6076 Body 6002 6027 6052 6077 Tool Holder 6003A 6028A 6053A 6078 Tool Lock Screw 5810 6038 6063 6088 Lock Screw (2 Reqd.) 6005 6030 6055 6080 Driver 6004 6029 6054 6079 Driver Stop 6008 6033 6058 6083 Driver Stop Spring 6009 6034 6059 6084 Reverse Pawl (2 Reqd.) 6006 6031 6056 6081 Pawl Spring (2 Reqd.) 6007A 6032A 6057A 6082A Stop Collar 6010 6035 6060 6085 Collar Spacer Nut 6012 6037 6062 6087 Return Spring 6011A 6036A 6061A 6086A
BOYAR-SCHULTZ SMT
Division of Lester Detterbeck Enterprises Ltd.
Copyright © 2016 BOYAR-SCHULTZ SMT, a division of Lester Detterbeck Enterprises, LTD Website by North Country Website Design_

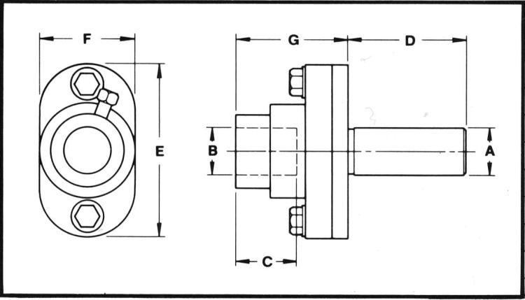
Tap Holders - Model AR

Adjustable releasing tap holders are used in screw machines, turret lathes, CNC lathes, and reversing spindle automatic screw machines. The tap is mounted in the tool holder directly or in a bushing; the holder assembly is adjustable to accurately align the tap with the workpiece. After it is started in the workpiece, the tap leads itself to a preset depth and draws the tool holder out of drive engagement with the tool head assembly, which permits the holder to rotate freely with the workpiece. Spindle reversal re- engages the tool holder, withdrawing the tap from the hole, and returns the tool holder to its original position. The tool is easily changed from right to left-handed operation with a simple adjustment.
Model OOAR OAR 2AR 3AR Ordering Number 6000 6025 6050 6075 Dimensions A 5/8 3/4 1 1-1/4 B 1/2 5/8 1 1 C 3/4 15/16 1-5/16 1-3/16 D 1-1/8 2 2-1/2 3-1/4 E 2 2-7/16 3-7/16 4 F 1-1/8 1-3/8 2 2-1/4 G 1-3/8 1-11/16 2-3/8 2-5/8 Pull Out 3/32 1/8 1/8 1/8 Replacement Parts Tool Head 6001 6026 6051A 6076 Body 6002 6027 6052 6077 Tool Holder 6003A 6028A 6053A 6078 Tool Lock Screw 5810 6038 6063 6088 Lock Screw (2 Reqd.) 6005 6030 6055 6080 Driver 6004 6029 6054 6079 Driver Stop 6008 6033 6058 6083 Driver Stop Spring 6009 6034 6059 6084 Reverse Pawl (2 Reqd.) 6006 6031 6056 6081 Pawl Spring (2 Reqd.) 6007A 6032A 6057A 6082A Stop Collar 6010 6035 6060 6085 Collar Spacer Nut 6012 6037 6062 6087 Return Spring 6011A 6036A 6061A 6086A